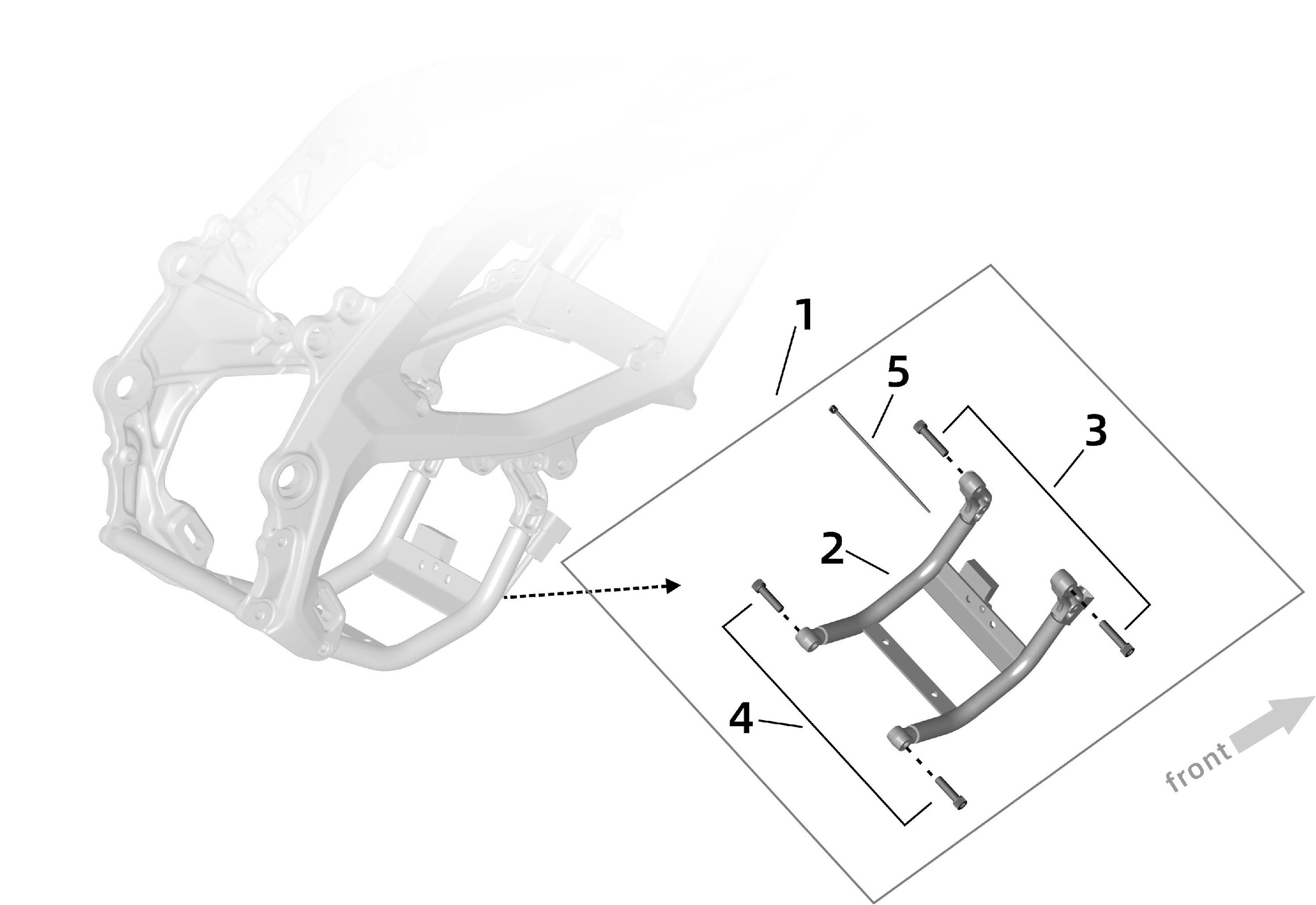
| № | Артикул | Название | Цена | В наличии | Кол, шт. | |
|---|---|---|---|---|---|---|
| 01 | 41210-YQ5A-Z1 | — | Нет в наличии |
|
||
| 02 | 41210-YQ5A-0000 | — | Нет в наличии |
|
||
| 03 | B3-001-08-035-F0 | — | Нет в наличии |
|
||
| 04 | B3-001-08-030-F0 | — | Нет в наличии |
|
||
| 05 | 81147-YQ2A-0000 | — | Нет в наличии |
|
Отправляя данные формы вы даете свое согласие на обработку персональных данных
Материалы и цены, размещенные на сайте, не являются публичной офертой ст. 437 ГК РФ
This site is protected by reCAPTCHA and the Google Privacy Policy and Terms of Service apply.
Сайт использует необходимые для работы cookies. Продолжая использование, вы соглашаетесь с их применением. Подробнее в политике конфиденциальности